地线专用滤波器
地线专用滤波器

地线专用滤波器

● 地线、逻辑地专用。
产品详情

特 点 Features

● 体积小,性价比高。Small size, high cost performance.

● 压降<1V。The voltage drop is less than 1V.

● 电流10A至1000A。The current is 10a to 1000A.

● 金属壳体采用镀镍钢板和不锈钢大盖板组合式结构,美观大气,机械强度高,耐腐蚀性强。

The metal shell adopts the combined structure of nickel plated steel plate and stainless steel large cover plate, which is beautiful and atmospheric, with high mechanical strength and strong corrosion resistance.


应 用 Application

● 电波暗室、屏蔽房、电子方舱和机柜等设施的专用配套,能有效的抑制辐射干扰。The special supporting facilities of anechoic chamber, shielding room, electronic shelter and cabinet can effectively suppress radiation interference.


性能指标 Characteristcs

额定电压Rated voltage

250VAC

500VDC

工作频率 Operating Frequency

0~60HZ

耐压试验 Test Voltage

1000VDC/2S(线-地Line - ground)

3000VDC/2S

电压降△V Voltage drop

<1V(额定工作条件Rated working conditions)

气候类别 Climate category

25/070/21


产品型号表 Filter Table

型号

model

额定电流A

Rated curren

波导螺杆

Waveguide screw

导线

wire

外形尺寸Fig.

Outline Drawing

插入损耗dB

insertion loss

YX-10C-F

10

M16

14AWG

1

100dB
14K~10GHz

备注:可拓展至40GHz

YX-16C-F

16

M16

12AWG

1

YX-32C-F

32

M24

10AWG

2

YX-50C-F

50

M24

8AWG

2

YX-65C-F

65

M24

6AWG

2

YX-80C-F

80

M24

6AWG

3

YX-100C-F

100

M24

4AWG

3

YX-150C-F

150

M24

2AWG

3

YX-200C-F

200

M33

1/0AWG

4

YX-250C-F

250

M33

70mm2

4

YX-300C-F

300

M33

95mm2

4

YX-400C-F

400

M42

25×6

5

YX-500C-F

500

M42

25×6

5

YX-600C-F

600

M48

30×8

6

YX-800C-F

800

M48

30×8

6

YX-1000C-F

1000

M72

50×10

7


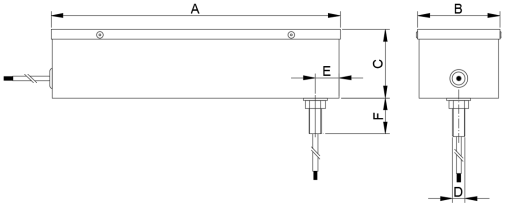
外形尺寸图 Outline Drawing : mm


Fig.1~Fig.3(10A~150A)

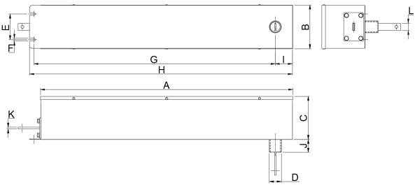
外形尺寸图


Fig.4 (200A~300A)

地线专用滤波器


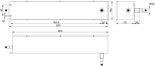
Fig.5~Fig.7 (400A~1000A)

地线专用滤波器

外形尺寸Fig.

A

B

C

D

E

F

G

H

I

J

K

L

1

363

103

86

M16

30

45

/

/

/

/

/

/

2

363

133

101

M24

30

45

/

/

/

/

/

/

3

523

133

101

M24

30

45

/

/

/

/

/

/

5

883

153

151

M42

90

10

845

920

60

45

6

25

6

883

153

221

M48

90

10

845

920

60

65

8

30

7

933

153

266

M72

110

10

865

960

80

95

10

50


关联产品
立即咨询
姓名*
电话*
邮箱
留言内容*
验证码*
  
其他产品
热门产品
3000万彩票-追求健康,你我一起成长 实亿国际(中国区)官方网站 乐发IV - welcome u284彩票- 欢迎您 永兴集团yx06 佰利乐·(中国区)有限公司官网 5630彩票(中国区)官方网站 佰富彩采购大厅 - 欢迎您